就在邓妈妈准备带外婆来北京做手术的前一天,一个突如其来的消息瞬间打乱了邓妈妈的计划。
2022年,小邓外婆在老家湖南常德确诊阿尔茨海默病后,为了照顾老人,邓妈妈提前办理了退休,在家全职照顾她。

图源:视觉中国 图文无关
去年年初,邓妈妈看到不少医生的自媒体账号在宣传一种手术,称“可以完全治愈阿尔茨海默病,让患者回到患病前的状态。”她咨询了常德当地医院,被告知“当地做不了这个手术,可以去北京试试”。
经过了大半年的观察和准备,今年7月,邓妈妈联系上了北京一家可以做该手术的三甲医院,正准备带老人来北京就医,就看到国家卫健委禁止将“颈深淋巴管/结—静脉吻合术(以下简称LVA)”应用于阿尔茨海默病(以下简称“AD”)治疗的消息。
这项技术由显微外科医生首创,最初用于治疗淋巴水肿,后被“跨界”拓展至神经退行性疾病领域。虽被部分医疗机构宣称为“认知逆转术”,却因缺乏高质量循证证据、适应证模糊及长期疗效存疑被紧急叫停。

图源:视觉中国 图文无关
“我们也是抱着试一试的心态,万一好转了呢?”每天擦洗、三餐喂饭、照顾大小便……由于长期照护失智老人太费心神,邓妈妈愿意为了这“渺茫的希望”支付几万元的手术费,并承担手术风险。
家属对于手术的期待,折射出的是中国约1699万阿尔茨海默病患者面临的系统性防治困境。一方面,基层早筛和诊断能力薄弱,超70%患者被漏诊;另一方面,康复护理资源稀缺,家庭照护负担重。对于阿尔茨海默病,叫停手术之外,我们还能做些什么?
被叫停的手术
在北京回龙观医院,燕江陵每次出门诊都会遇到患者咨询“阿尔茨海默病手术”。作为老年精神科病区主任,她从事老年精神病学、老年人记忆障碍的诊断、治疗已有20余年。去年年底,她第一次听说了阿尔茨海默病可以通过手术治疗,并开始深入了解。
据燕江陵介绍,LVA是通过显微外科技术,将淋巴管或淋巴结与邻近的静脉进行吻合的手术,最初用于治疗淋巴水肿,但自2018年起,它被跨界拓展至阿尔茨海默病治疗领域。
燕江陵了解到,在近两年时间内,LVA已在国内几十家医院开展,部分经该手术治疗的患者,在术后缓解了部分症状。不过她认为,判断某治疗方案是否有效需要大规模的随机对照临床试验,积累足够多的安全性、有效性数据。

图源:视觉中国 图文无关
“疗效证据不充足、手术有一定风险,可能是国家叫停LVA的原因之一。”燕江陵表示,AD病因复杂、发病机制尚不十分明确,淀粉样蛋白的致病影响并非唯一,仅靠加速代谢不一定能适合所有患者。“目前公开发表的能支持该手术确切有效的权威数据还比较少,短期效果报道较多,长期效果还需要持续追踪。”
同时,LVA的手术也有一定风险。“老年患者手术耐受性相对较弱,且术后一部分患者可能会出现谵妄的风险,从而可能对病情产生一定影响。”燕江陵说道。

图源:中国临床试验注册中心网站
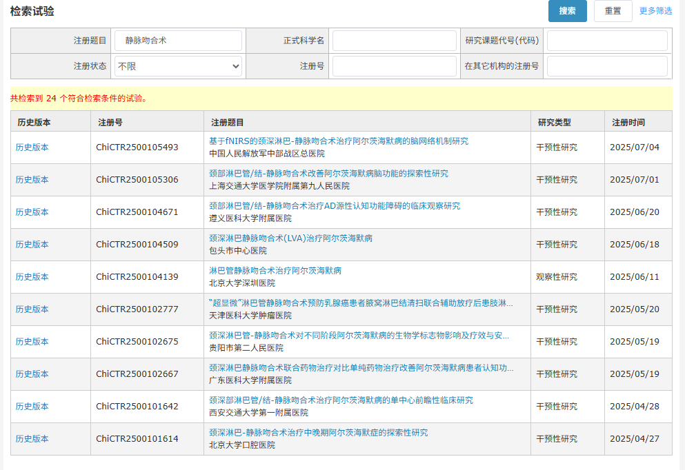
记者检索发现,在中国临床试验注册中心,只有20项已注册的LVA治疗阿尔茨海默病的临床试验。然而,出于商业利益考虑,国内部分医院已将其作为常规治疗开展,不少医学自媒体将其包装为“革命性突破”,宣称“百分之百治愈”。据燕江陵观察,目前开展LVA的医院收费标准不统一,收费几万到十几万不等,最高高达21万元。
值得注意的是,对于LVA,政策仍留有余地。国家卫健委表示,在具备充分临床前研究证据的前提下,支持符合条件医疗机构经伦理审查后规范开展临床研究;将根据研究进展适时评估该技术的临床应用。“叫停的目的是规范该医疗行为,因此禁令不是终点,而是一个新起点。”燕江陵评价道。
更紧迫的挑战
在禁令之外,AD患者家属对于手术的渴望和期待,更值得关注。
“在世界范围内,AD的治疗手段都相对有限。”据燕江陵介绍,目前治疗手段主要有药物治疗(如胆碱酯酶抑制剂、美金刚)和非药物治疗(如认知功能训练、心理干预等),效果有限,个体差异大,无法做到“立竿见影”。而新上市的靶向药,如仑卡奈单抗和多奈单抗,短期观察效果较好,但治疗仅对轻症患者,且未纳入医保,年治疗费用在20万元左右,价格不菲。

图源:视觉中国 图文无关
“AD是一种复杂的神经退行性疾病,所有的治疗都只能延缓病情进展,无法逆转或根治。”加上它发病隐匿,潜伏期长,因此预防从轻微认知障碍进展到痴呆是解决病症的有效途径。据浙江省某大型三甲医院院长王明德(化名)介绍,如果及早对可改变的危险因素进行干预,可预防或延迟约40%的痴呆发生。
AD是老年期痴呆最常见的类型。然而,当前我国老年期痴呆筛查体系尚不健全。根据一项针对北京、西安、上海、成都四地区患者卫生保健现状调查显示,痴呆漏诊率为73.1%,仅有2.0%的痴呆患者接受抗痴呆药物治疗,且疗效甚微。
首先,公众对疾病认识有待提升。根据2022年阿尔茨海默病防治协会发布的调查,我国AD人群总知晓率已达95.9%,但因自觉记忆力减退、注意力无法集中而主动去医院就诊的比例仅12.9%。
“现在很多老人没有子女在身边,没人注意到他记忆力衰退等早期症状;或者子女注意到了,也会觉得‘年纪大了记忆不好很正常’,没有引起重视。”燕江陵发现,不少老人来医院就诊时已经处于疾病中晚期,治疗效果不佳。

图源:视觉中国 图文无关
其次,基层早期筛查和治疗能力不足。全国医疗系统未普遍设置认知门诊,非精神专科医院对老年期痴呆识别诊断能力不足。“目前全国开设的记忆门诊超660个,与发达国家差距仍然较大,”王明德估算,瑞士800万人口拥有39个记忆门诊,我国若要达到同样的密度则需要6338个记忆门诊。
多数基层医疗卫生机构尚不具备治疗条件。据燕江陵观察,我国老年期痴呆治疗和康复服务主要由大型综合医院神经科、老年病科及精神病科等专科医生提供,二级医院普遍缺乏认知障碍专科门诊。“不典型病例用到的PET-CT(正电子发射计算机断层扫描),很多基层医院没有这个设备。”
此外,护理资源严重欠缺。当前,我国约70%的痴呆患者在家中养老,以配偶或子女等家庭成员提供无偿的非正式照护为主,养老机构、社区医院提供的照护资源非常有限。截至2023年三季度,全国各类养老机构和设施总数达40万个、床位820.6万张,而失能失智人数约为4500万。
不只是一个医学问题
多位专业人士表示,阿尔茨海默病的防治,不是单纯的医学问题,而是需要社会联动的系统工程。
首先,王明德认为,提升基层筛查能力必不可少。他建议,二级及以上医疗机构及乡镇卫生院、社区卫生服务中心联合设立记忆门诊或认知门诊,依托政府项目常态化开展早期筛查;推广智能筛查工具与双向转诊机制,促进多方协作提升诊疗水平;降低筛查成本, 鼓励研发便携式检测设备,如移动式MRI、CT等,推广低成本血液检测(如p-tau217检测)替代影像检查。
其次,还需要优化资源配置,构建防治服务网络。“建立上级医院与基层医疗机构的远程协作机制,提升基层诊疗能力。”王明德表示,可以运用人工智能技术构建老年期痴呆智能防治平台,整合数据资源,实现早筛、干预、治疗、康复全流程服务。同时加强基层医疗机构建设,提升设施水平与康复能力。

图源:视觉中国 图文无关
最后,燕江陵呼吁,扩大专业养老供给,减轻医院和家属照护负担。在她所在的老年精神科病区,老人“压床”严重——“老年精神疾病的特点是难治愈、易反复、不好护理,即使达到出院的标准,家属也不愿让其出院。”因此,她建议引导具有能力的医疗机构、医药集团、社会企业共同参与,建立“医院-医养中心-家庭/社区”疾病全程管理模式。
“阿尔茨海默病影响的不是一位老人,而是整个家庭和社会。”燕江陵常常遇到患者家属私下向她哭诉。“这个病不可逆,现在的每一天,都是你未来与TA度过的日子里最好的一天,你应该珍惜当下,活在当下。”面对阿尔茨海默病患者家属的痛苦、懊恼、愧疚、绝望,她这样安慰道。
监制:李绍飞
记者:杨瑞